Belajar Pintar Materi SMP, SMA, SMK
BelajarPintarV3
IPA
Hakikat Ilmu Sains dan Metode Ilmiah
MATERI
Pendahuluan

Sobat Pintar!, kali ini kita akan belajar tentang Pengukuran sebagai Bagian dari Pengamatan

Sobat pintar, pengamatan objek dengan menggunakan indra merupakan kegiatan yang penting untuk menghasilkan deskripsi suatu benda.
Akan tetapi, seringkali pengamatan seperti itu tidak cukup. Kamu memerlukan pengamatan yang memberikan hasil yang pasti ketika dikomunikasikan kepada orang lain.
Contoh:
Pernahkah kamu pergi ke penjahit untuk minta dibuatkan baju?
Bagaimana penjahit dapat membuatkan baju dengan ukuran yang tepat?
Atau, pernahkah kamu melihat orang berjual beli buah, misalnya duku?
Bagaimanakah menentukan banyaknya duku secara akurat?
Semua peristiwa di atas terkait dengan kegiatan pengukuran. Pada bagian ini, kamu akan mendiskusikan dan melakukan berbagai kegiatan pengukuran dengan menggunakan alat ukur yang sesuai.
Pengukuran

Yuk Sobat kita lanjut ke Pengukuran
Mengukur merupakan kegiatan penting dalam kehidupan dan kegiatan utama di dalam IPA. Contoh, kamu hendak mendeskripsikan suatu benda, misalnya mendeskripsikan dirimu. Kemungkinan besar kamu akan menyertakan tinggi badan, umur, massa tubuh, dan lain-lain. Tinggi badan, umur, dan massa tubuh merupakan sesuatu yang dapat diukur. Segala sesuatu yang dapat diukur disebut besaran.
Jengkal sebagai salah satu alat ukur
Seperti yang telah kamu lakukan, mengukur merupakan kegiatan membandingkan suatu besaran yang diukur dengan besaran sejenis yang dipakai sebagai satuan. Misalnya, kamu melakukan pengukuran panjang meja dengan jengkalmu.
Dengan demikian, kamu harus membandingkan panjang meja dengan panjang jengkal-mu. Jengkalmu digunakan sebagai satuan pengukuran. Misalnya, hasil pengukurannya yaitu panjang meja sama dengan 6 jengkal. Namun pengukuran menggunakan jengkal akan menghasilkan hasil yang berbeda-beda tergantung dengan jengkal yang digunakan.
Coba sobat pintar badingkan panjang jengkal mu dengan jenkal teman kamu, beda kan ?
Oleh karena itu, diperlukan satuan yang disepakati bersama untuk semua orang. Satuan yang disepakati ini disebut satuan baku.
Satuan Baku

Yuk Sobat kita lanjut ke Satuan Baku
Mungkin sobat pintar pernah mendengar satuan sentimeter, kilogram, dan detik. Satuan-satuan tersebut adalah contoh satuan baku dalam Sistem Internasional (SI).
Setelah tahun 1700, sekelompok ilmuwan menggunakan sistem ukuran yang dikenal dengan nama Sistem Metrik. Pada tahun 1960, Sistem Metrik dipergunakan dan diresmikan sebagai Sistem Internasional. Penamaan ini berasal dari bahasa Prancis, Le Systeme Internationale d’Unites.
Dalam satuan SI, setiap jenis ukuran memiliki satuan dasar, contohnya panjang memiliki satuan dasar meter. Untuk hasil pengukuran yang lebih besar atau lebih kecil dari meter, dapat digunakan awalan-awalan, seperti ditunjukkan dalam Tabel dibawah.
Penggunaan awalan ini untuk memudahkan dalam berkomunikasi karena angkanya menjadi lebih sederhana. Misalnya, untuk menyebutkan 20.000 meter dapat dipermudah menjadi 20 kilometer. Nilai kelipatan awalan tersebut menjangkau objek yang sangat kecil hingga objek yang sangat besar.
Contoh objek yang sangat kecil adalah atom, molekul, dan virus.
Contoh objek yang sangat besar adalah galaksi.
Besaran Pokok

Yuk Sobat kita lanjut ke Besaran Pokok
Sobat pintar pada kegiatan sebelumnya, kamu telah menyimpulkan bahwa dalam kegiatan pengukuran perlu menggunakan satuan baku, yaitu satuan yang disepakati bersama. Besaran yang satuannya didefinisikan disebut besaran pokok. Besaran pokok ada 3, yaitu panjang, massa, dan waktu.
Panjang
Panjang menggunakan satuan dasar (SI) meter (m). Satu meter standar (baku) sama dengan jarak yang ditempuh cahaya dalam ruang hampa selama 1/299.792.458 sekon. Untuk keperluan sehari-hari telah dibuat alat-alat pengukur panjang tiruan dari meter standar.
Berbagai Macam Alat Ukur Panjang
(a) Pita Ukur (b) Meteran (c) Penggaris (d) Jangka Sorong
Perhatikan Gambar diatas. Beberapa alat pengukur panjang, misalnya pita ukur atau metlin, penggaris atau mistar, jangka sorong, dan meteran gulung. Meteran gulung dan penggaris mampu mengukur paling kecil hingga 1 mm, tetapi jangka sorong mampu mengukur sampai 0,1 mm.
Sobat pintar, pernahkah kamu melihat bahwa alat-alat pengukur panjang tersebut dipergunakan dalam pekerjaan?
Massa
Setiap benda tersusun dari materi. Jumlah materi yang terkandung dalam suatu benda disebut massa benda. Dalam SI, massa diukur dalam satuan kilogram (kg). Misalnya, massa tubuhmu 52 kg, massa seekor kelinci 3 kg, massa sekantong gula 1 kg.
Neraca Lengan
Dalam kehidupan sehari-hari, orang menggunakan istilah “berat” untuk massa. Namun sesungguhnya, massa tidak sama dengan berat. Massa suatu benda ditentukan oleh kandungan materinya dan tidak mengalami perubahan meskipun kedudukannya berubah.
Sebaliknya, berat sangat bergantung pada kedudukan di mana benda tersebut berada. Mengapa?
Karena benda akan memiliki gravitasi yang berbeda di tempat yang berbeda. Sebagai contoh, saat astronot berada di bulan, beratnya tinggal 1/6 dari berat dia saat di bumi. Dalam SI, massa menggunakan satuan dasar kilogram (kg), sedangkan berat menggunakan satuan Newton (N).
Waktu
Waktu adalah selang antara dua kejadian atau dua peristiwa. Misalnya, waktu hidup seseorang dimulai sejak ia dilahirkan hingga meninggal, waktu perjalanan diukur sejak mulai bergerak sampai dengan akhir gerak (berhenti). Waktu dapat diukur dengan jam tangan atau stopwatch Satuan SI untuk waktu adalah detik atau sekon (s). Satu sekon standar (baku) adalah waktu yang dibutuhkan atom Cesium untuk bergetar 9.192.631.770 kali. Berdasarkan jam atom ini, hasil pengukuran waktu dalam selang waktu 300 tahun tidak akan bergeser lebih dari satu sekon.
Alat Ukur Waktu
Berdasarkan uraian di atas, dapat disimpulkan bahwa panjang, massa, dan waktu merupakan besaran pokok. Berdasarkan hasil Konferensi Umum mengenai Berat dan Ukuran ke-14 tahun 1971, Sistem Internasional disusun mengacu pada tujuh besaran pokok seperti tercantum pada Tabel dibawah. Eits, untuk empat besaran pokok yang lain akan dipelajari pada bab-bab berikutnya.
Besaran Turunan

Selanjutnya kita ke Besaran Turunan
Besaran-besaran yang dapat diukur selain 7 (tujuh) besaran pokok termasuk besaran turunan. Disebut besaran turunan karena besaran-besaran tersebut dapat diturunkan dari besaran-besaran pokoknya.
Misalnya, luas ruang kelasmu. Jika ruang kelasmu berbentuk persegi, maka luasnya merupakan hasil perkalian panjang dengan lebar. Perhatikan, bahwa panjang dan lebar merupakan besaran pokok panjang.
Dalam SI, panjang diukur dengan satuan meter (m). Luas dalam SI memiliki satuan meter x meter, atau meter persegi (m2). Contoh besaran turunan yang lainnya adalah volume, konsentrasi larutan, dan laju pertumbuhan.
1.
Jawablah soal berikut ini!
Jika 1 SA (Satuan Astronomi) adalah 150 juta Km dan jarak Bumi dan Pluto adalah 5.900 juta km. Berapakah jarak tersebut dalam satuan astronomi?
A. 39.3 SA
B. 29.3 SA
C. 19.3 SA
D. 49.3 SA
JAWABAN BENAR
A.
39.3 SA
PEMBAHASAN
1 SA = 150 Juta Km
Jarak Bumi dengan Pluto = 5.900 juta Km
Maka 5900 juta km / 150 juta km = 39.3 SA
2.
Jawablah soal berikut ini!
Di bawah ini merupakan satuan yang termasuk dalam Le Systeme Internationale d’Unites atau Sistem Internasional, kecuali...
A. Meter
B. Kilogram
C. Celcius
D. Ampere
JAWABAN BENAR
C.
Celcius
PEMBAHASAN
Satuan Internasional Suhu adalah Kelvin. Berikut Satuan Internasional pada besaran baku

3.
Jawablah soal berikut ini!
Berikut ini adalah termasuk besaran pokok, kecuali .…
A. panjang
B. luas
C. waktu
D. massa
JAWABAN BENAR
B.
luas
PEMBAHASAN
Luas merupakan besaran turunan dari satuan panjang.
4.
Jawablah soal berikut ini!
Di bawah ini yang merupakan kelompok besaran pokok adalah ….
A. panjang, massa, energi, dan intensitas cahaya
B. massa, waktu, kuat arus listrik, gaya, dan energi
C. panjang, waktu, suhu, tekanan., dan intensitas cahaya
D. massa, waktu, suhu, kuat arus listrik, dan panjang
JAWABAN BENAR
D.
massa, waktu, suhu, kuat arus listrik, dan panjang
PEMBAHASAN
Massa, waktu, suhu, kuat arus listrik, dan panjang merupakan kumpulan satuan-satuan pokok.
5.
Jawablah soal berikut ini!
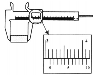
Sebuah balok diukur ketebalannya dengan jangka sorong seperti pada gambar berikut.

Skala yang ditunjukkan dari hasil pengukuran tampak pada gambar. Berdasarkan gambar tersebut, maka hasil pengukurannya adalah ….
A. 3,19 cm
B. 3,14 cm
C. 3,00 cm
D. 3,10 cm
JAWABAN BENAR
A.
3,19 cm
PEMBAHASAN

Menunjukkan 3,19 cm
Oops!!!
Yah, jawaban kamu meleset nih. Ingin melihat pembahasan soal ini?
BENAR!!!
Selamat!
Jawaban kamu benar. Ingin lihat pembahasan soal ini?
footer_v3
Bersama Aku Pintar temukan jurusan kuliah yang tepat
sesuai minat dan bakatmu.
Aku Pintar memiliki visi membuat pendidikan merata, mudah dijangkau, dan terjangkau dengan Program Journey Pintar yang merupakan sebuah program persiapan lengkap bagi siswa SMA/SMK/sederajat yang ingin masuk ke perguruan tinggi impiannya.
Kontak Kami
Grand Slipi Tower Lt. 42
Jl. S. Parman Kav 22-24
Jakarta Barat
© 2024 Aku Pintar. All Rights Reserved